Home| FAQ Search:Advanced|Person|Company| Type|Class Login
Quick search:
Patent number:
Patent Date:
first    back  next  last
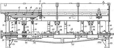
US Patent: 2,161,989
Flat screen
Screening paper pulp
Patentee:
Donald M. Waterous (exact or similar names) - Brantford, ON Canada

USPTO Classifications:
209/273, 209/357, 209/365.2

Tool Categories:
specialty machines : paper making machines

Assignees:
Waterous, Ltd. - Brantford, ON Canada

Manufacturer:
Not known to have been produced

Witnesses:
Unknown

Patent Dates:
Applied: Jul. 29, 1936
Granted: Jun. 13, 1939

Patent Pictures:
USPTO (New site tip)
Google Patents
Report data errors or omissions to steward Jeff Joslin

Copyright © 2002-2026 - DATAMP