Home| FAQ Search:Advanced|Person|Company| Type|Class Login
Quick search:
Patent number:
Patent Date:
first    back  next  last
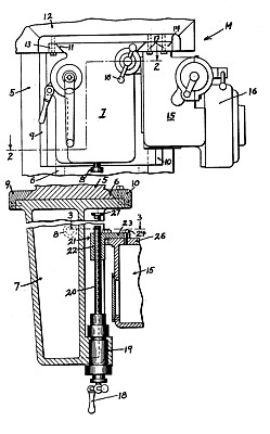
US Patent: 2,703,498
Removable Feed Nut for the Cross-Feed Apparatus of Milling Machines
Patentee:
Charles Tree (exact or similar names) - Racine, WI

USPTO Classifications:
409/206, 74/424.71

Tool Categories:
metalworking machines : milling machines

Assignees:
None

Manufacturer:
Not known to have been produced

Witnesses:
none listed

Patent Dates:
Applied: Aug. 19, 1952
Granted: Mar. 08, 1955

Patent Pictures:
USPTO (New site tip)
Google Patents
Report data errors or omissions to steward Joel Havens
"Vintage Machinery" entry for Tree Tool and Die Works

Copyright © 2002-2026 - DATAMP