Home| FAQ Search:Advanced|Person|Company| Type|Class Login
Quick search:
Patent number:
Patent Date:
first  previous  back  next  last
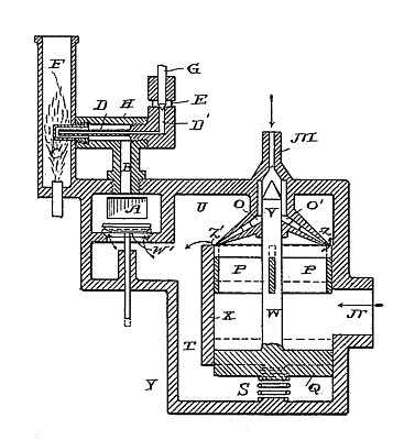
US Patent: 417,924
Method of Automatic Ignition in Gas Engines
Patentee:
Ernst Korting (exact or similar names) - Hanover, Prussia, Germany

USPTO Classifications:
123/145R, 123/434

Tool Categories:
propulsion and energy : internal combustion engines : ignition systems

Assignees:
Korting Gas Engine Co., Ltd. - New York, NY

Manufacturer:
Korting Gas Engine Co., Ltd. - New York, NY

Witnesses:
William G. Spalding
John Kracke
N. A. Lanil
T. H. Brown

Patent Dates:
Applied: Mar. 28, 1889
Granted: Dec. 24, 1889

Patent Pictures:
USPTO (New site tip)
Google Patents
Report data errors or omissions to steward Joel Havens
"Vintage Machinery" entry for Korting Gas Engine Co., Ltd.
Description:
Patented in Switzerland, 08 May 1888, #808; in France, 12 May 1888, #194,590 and i Belgium, 12 May 1888.

Copyright © 2002-2026 - DATAMP