Home| FAQ Search:Advanced|Person|Company| Type|Class Login
Quick search:
Patent number:
Patent Date:
first  previous  back  next  last
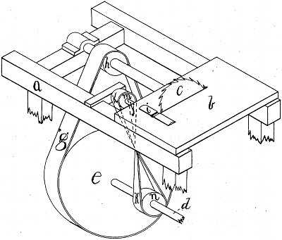
US Patent: RE5,805
Improvement in feed-rollers to circular saws
Patentee:
John Mutty (exact or similar names) - Brewer, ME

USPTO Classifications:
200/37R, 83/436.1, 83/477.2

Tool Categories:
woodworking machines : circular saws : tablesaws

Assignees:
None

Manufacturer:
Not known to have been produced

Witnesses:
William Franklin Seavey
N. H. Brown

Patent Dates:
Applied: Jun. 12, 1873
Granted: Mar. 24, 1874

Reissue Information:
Reissue of 52,188 (Jan. 23, 1866)

Patent Pictures:
USPTO (New site tip)
Google Patents
Report data errors or omissions to steward Jeff Joslin

Copyright © 2002-2026 - DATAMP