Home| FAQ Search:Advanced|Person|Company| Type|Class Login
Quick search:
Patent number:
Patent Date:
first    back  next  last
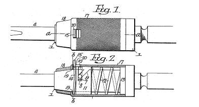
US Patent: 1,209,572
Chuck
Patentee:
Thomas J. Fegley (exact or similar names) - Philadelphia, PA

USPTO Classifications:
279/82

Tool Categories:

Assignees:
North Brothers Manufacturing Co. - Philadelphia, PA

Manufacturer:
Not known to have been produced

Witnesses:
Unknown

Patent Dates:
Applied: Feb. 24, 1916
Granted: Dec. 19, 1916

Patent Pictures:
USPTO (New site tip)
Google Patents
Report data errors or omissions to steward Russ Allen
"Vintage Machinery" entry for North Bros. Manufacturing Co.

Copyright © 2002-2025 - DATAMP