Home| FAQ Search:Advanced|Person|Company| Type|Class Login
Quick search:
Patent number:
Patent Date:
first    back  next  last
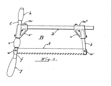
US Patent: 525,365
Frame Saw
Patentee:
Nathaniel H. Shaw (exact or similar names) - Somerville, MA

USPTO Classifications:
30/510

Tool Categories:
woodworking tools : handsaws : frame saws

Assignees:
None

Manufacturer:
Unknown

Witnesses:
O. M. Shaw
K. Durfee

Patent Dates:
Applied: Jan. 04, 1894
Granted: Sep. 04, 1894

Patent Pictures: [ 1 | 2 | 3 ]
USPTO (New site tip)
Google Patents
Report data errors or omissions to steward Russ Allen
Description:
One of these appeared on ebay marked JACOBS SEPT 4, 1894 Possibly manufactured by L. W. Jacobs Co

Copyright © 2002-2026 - DATAMP