Home| FAQ Search:Advanced|Person|Company| Type|Class Login
Quick search:
Patent number:
Patent Date:
first    back  next  last
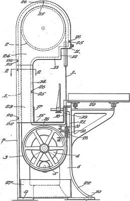
US Patent: 1,511,788
Meat-cutting band saw
Patentee:
Jay W. Vaughan (exact or similar names) - Chicago, IL

USPTO Classifications:
69/10, 83/814, 83/860

Tool Categories:
specialty tools : special purpose saws : meat saws

Assignees:
None

Manufacturer:
Vaughan Co. - Chicago, IL

Witnesses:
Unknown

Patent Dates:
Applied: May 26, 1919
Granted: Oct. 14, 1924

Patent Pictures:
USPTO (New site tip)
Google Patents
Report data errors or omissions to steward Jeff Joslin
Vaughan meat saw on VintageMachinery.org
Description:
This is the earliest Vaughan Co. meat-saw patent we have found. The original application was split but it seems that only this patent was ever issued.

Copyright © 2002-2025 - DATAMP