Home| FAQ Search:Advanced|Person|Company| Type|Class Login
Quick search:
Patent number:
Patent Date:
first    back  next  last
GB Patent: GB-189,730,636
Improvements in Sight-feed Lubricators
Patentee:
James Lionel Grandison (exact or similar names) - Manchester, England

USPTO Classifications:

Tool Categories:
propulsion and energy : steam engines : steam engine lubricators

Assignees:
None

Manufacturer:
Steam Cylinder Lubricator Co., Ltd. - Manchester, England

Witnesses:
Unknown

Patent Dates:
Applied: Dec. 28, 1897
Granted: Oct. 29, 1898

Patent Pictures:
Espacenet patent
Report data errors or omissions to steward Joel Havens
"Vintage Machinery" entry for Steam Cylinder Lubricator Co., Ltd.
Description:
Note: Early English patents (pre 1916) were numbered by the year and started at patent #1 at the start of each year in January. The patent # used in DATAMP represents the year of issue of the application and the patent #. This patent is #30,636 of the year 1897.

Abstract:

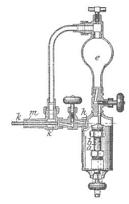
The condenser e is mounted on the reservoir a, and the sight-tube b and a gauge glass are on opposite sides of the reservoir. A pipe leads from the top of the reservoir to the bottom of the sight-tube. A passage h in the top of the reservoir connects the sight-tube with the oil-delivery pipe k. This pipe k projects through and beyond the end of the pipe m, which screws into the steam pipe and admits steam to the condenser.

Copyright © 2002-2026 - DATAMP