Home| FAQ Search:Advanced|Person|Company| Type|Class Login
Quick search:
Patent number:
Patent Date:
first    back  next  last
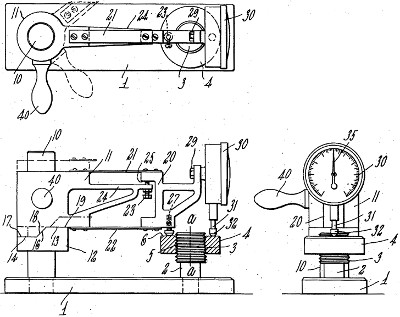
US Patent: 2,427,152
Gage to test the perpendicularity of the face of a workpiece to its axis
Patentee:
William F. Moore (exact or similar names) - Springfield, VT

USPTO Classifications:
33/199R, 33/535

Tool Categories:
metalworking machines : grinders

Assignees:
Bryant Chucking Grinder Co. - Springfield, VT

Manufacturer:
Bryant Chucking Grinder Co. - Springfield, VT

Witnesses:
Unknown

Patent Dates:
Applied: Nov. 14, 1944
Granted: Sep. 09, 1947

Patent Pictures:
USPTO (New site tip)
Google Patents
Report data errors or omissions to steward Jeff Joslin
Vintage Machinery entry for Bryant Chucking Grinder Co.

Copyright © 2002-2026 - DATAMP