Home| FAQ Search:Advanced|Person|Company| Type|Class Login
Quick search:
Patent number:
Patent Date:
first    back  next  last
US Patent: 3,452,175
Roller-band devices
Rolamite bearings
Patentee:
Donald F. Wilkes (exact or similar names) - Albuquerque, NM

USPTO Classifications:
184/29, 200/16R, 200/240, 200/34, 200/503, 200/52R, 200/61.45R, 200/81R, 267/158, 360/71, 384/50, 417/395, 73/313, 73/514.01

Tool Categories:
industrial machines : industrial machine mechanisms : industrial machine bearings

Assignees:
United States Atomic Energy Commission - Washington, DC

Manufacturer:
Not known to have been produced

Witnesses:
Unknown

Patent Dates:
Applied: May 29, 1967
Granted: Jun. 24, 1969

Patent Pictures: [ 1 | 2 ]
USPTO (New site tip)
Google Patents
Report data errors or omissions to steward Jeff Joslin
Description:
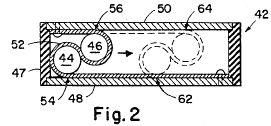
This is the Rolamite bearing, which uses cylindrical rollers and a thin band of metal to create a bearing with no sliding friction whatsoever. Because there is no sliding, no lubrication is needed Tests done at the time showed that this new bearing type had less than one tenth the rolling resistance of the best available ball bearings. Tests of the thin beryllium copper bands used in the bearings showed no metal fatigue after 1,000,000 flexures, which is good for applications such as switches and machine ways, though not for spindles or motors. Licensing for this new invention was royalty-free.

The lengthy patent specification describes numerous variants. For example, a uniform band shows no preference as to position, but a band with a tapered slot will tend to return to one end of its travel. Detents can be provided to create a "stop" at a position, and detent geometry controls the amount of force to move out of the detent, and whether the boundaries of motion are sharp or gentle. The tolerances can be adjusted to provide a soft and flowing action that is tolerant to foreign particles in the bearing, or made very tight to provide uncompromising rigidity of motion.

Copyright © 2002-2025 - DATAMP