Home| FAQ Search:Advanced|Person|Company| Type|Class Login
Quick search:
Patent number:
Patent Date:
first    back  next  last
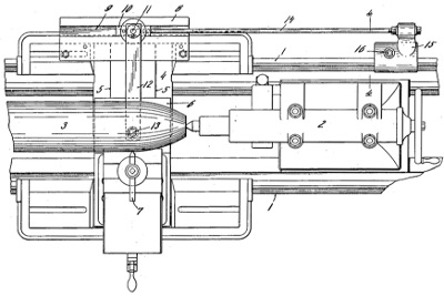
US Patent: 1,171,665
Projectile-turner
Patentee:
William Schellenbach (exact or similar names) - Wyoming, OH

USPTO Classifications:
82/11

Tool Categories:
metalworking machines : metal lathes

Assignees:
None

Manufacturer:
Lodge & Shipley Machine Tool Co. - Cincinnati, OH

Witnesses:
Clarence B. Foster
Emma Spener

Patent Dates:
Applied: Aug. 25, 1915
Granted: Feb. 15, 1916

Patent Pictures:
USPTO (New site tip)
Google Patents
Report data errors or omissions to steward Jeff Joslin
Vintage Machinery entry for Lodge & Shipley Machine Tool Co.

Copyright © 2002-2026 - DATAMP