Home| FAQ Search:Advanced|Person|Company| Type|Class Login
Quick search:
Patent number:
Patent Date:
first    back  next  last
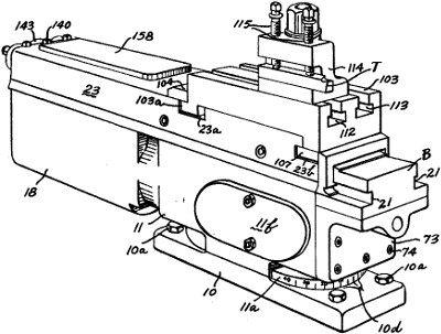
CA Patent: CA-489,644
Power unit
Patentees:
Theodore Foster (exact or similar names) - Sidney, OH
Stanley Allen Brandenburg (exact or similar names) - Sidney, OH
Clifford Alcett Bickel (exact or similar names) - Sidney, OH

USPTO Classifications:

Tool Categories:
metalworking machines : metal lathes

Assignees:
Monarch Machine Tool Co. - Sidney, OH

Manufacturer:
Monarch Machine Tool Co. - Sidney, OH

Witnesses:
Unknown

Patent Dates:
Granted: Jan. 13, 1953

Patent Pictures:
CIPO Data
Espacenet patent
Report data errors or omissions to steward Jeff Joslin
"Vintage Machinery" entry for Monarch Machine Tool Co.

Copyright © 2002-2026 - DATAMP