Home| FAQ Search:Advanced|Person|Company| Type|Class Login
Quick search:
Patent number:
Patent Date:
first    back  next  last
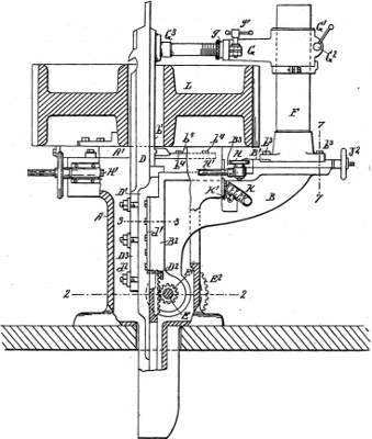
US Patent: 618,894
Key-seat-cutting machine
Patentees:
Henry E. Morton (exact or similar names) - Muskegon, MI
Matthew Morton (exact or similar names) - Muskegon, MI

USPTO Classifications:
409/307, 409/335

Tool Categories:
metalworking machines : key seating machines
metalworking machines : broaching machines

Assignees:
None

Manufacturer:
Morton Mfg. Co. - Muskegon Heights, MI

Witnesses:
Alexander Van Zanten
Lillie M. Gergstrom

Patent Dates:
Applied: Dec. 08, 1897
Granted: Feb. 07, 1899

Patent Pictures:
USPTO (New site tip)
Google Patents
Report data errors or omissions to steward Jeff Joslin
Vintage Machinery entry for Morton Mfg. Co.

Copyright © 2002-2026 - DATAMP