Home| FAQ Search:Advanced|Person|Company| Type|Class Login
Quick search:
Patent number:
Patent Date:
first    back  next  last
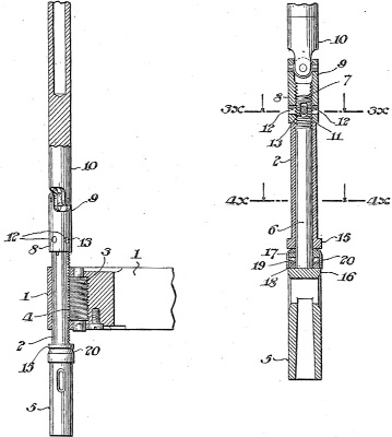
US Patent: 1,452,172
Drill-spindle-adjusting mechanism
Patentee:
Robert F. Scott (exact or similar names) - Philadelphia, PA

USPTO Classifications:
408/127, 408/146, 408/48

Tool Categories:
metalworking machines : drilling and boring : drill presses : multiple spindle drill presses

Assignees:
Edwin Harrington, Son & Co., Inc. - Philadelphia, PA

Manufacturer:
Edwin Harrington, Son & Co., Inc. - Philadelphia, PA

Witnesses:
Unknown

Patent Dates:
Applied: Sep. 14, 1921
Granted: Apr. 17, 1923

Patent Pictures:
USPTO (New site tip)
Google Patents
Report data errors or omissions to steward Jeff Joslin
Vintage Machinery entry for Edwin Harrington, Son & Co., Inc.

Copyright © 2002-2025 - DATAMP