Home| FAQ Search:Advanced|Person|Company| Type|Class Login
Quick search:
Patent number:
Patent Date:
first    back  next  last
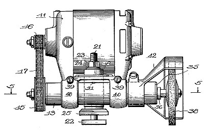
US Patent: 1,859,068
Electric Grinder
Patentee:
Chester H. Beach (exact or similar names) - Racine, Racine County, WI

USPTO Classifications:
384/469, 451/435, 474/115

Tool Categories:

Assignees:
Dumore Co. - Racine, Racine County, WI

Manufacturer:
Dumore Co. - Racine, Racine County, WI

Witnesses:
Charles R. Koursh

Patent Dates:
Applied: May 01, 1929
Granted: May 17, 1932

Patent Pictures:
USPTO (New site tip)
Google Patents
Report data errors or omissions to steward Joel Havens
"Vintage Machinery" entry for Dumore Co.
Description:
George Bayard Jones patent attorney.

This patent number was seen on a Dumore No. 5 "The Master" tool-post grinder.

Copyright © 2002-2026 - DATAMP