Home| FAQ Search:Advanced|Person|Company| Type|Class Login
Quick search:
Patent number:
Patent Date:
first    back  next  last
US Patent: 2,405,866
Electrical heating apparatus
Patentee:
Carl E. Weller (exact or similar names) - Easton, PA

USPTO Classifications:
219/233, 219/235, 219/240

Tool Categories:
specialty tools : soldering irons

Assignees:
None

Manufacturer:
Weller Electric Corp. - Easton, PA
Weller Mfg. Co. - Easton, PA

Witnesses:
Unknown

Patent Dates:
Applied: Jul. 14, 1941
Granted: Aug. 13, 1946

Reissue Information:
Reissued as RE23,619 (Feb. 10, 1953)

Patent Pictures:
USPTO (New site tip)
Google Patents
Report data errors or omissions to steward Jeff Joslin
Vintage Machinery entry for Weller Electric Corp.
Description:
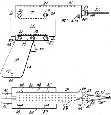
The amateurish patent drawing might mislead you into thinking this is an unimportant patent. But this is the original soldering-gun patent where the soldering tip is also the resistive heating element. The inventor's timing was exquisite: he began manufacturing his invention right at the advent of commercial television which created an enormous demand for electronics manufacture and repair. The inventor's business was enormously successful, made a lot of money, and saved countless hours that would have been spent waiting for the old-style soldering irons to heat up. Weller's invention got the tip to soldering temperature in the time it took to squeeze the trigger and bring the tip to the work.

Copyright © 2002-2026 - DATAMP