Home| FAQ Search:Advanced|Person|Company| Type|Class Login
Quick search:
Patent number:
Patent Date:
first    back  next  last
US Patent: 1,507,007
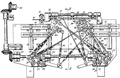
Wire-forming machine
Patentee:
Frank H. Sleeper (exact or similar names) - Worcester, MA

USPTO Classifications:
140/140, 72/337, 72/381

Tool Categories:
specialty machines : spring making machines

Assignees:
Sleeper & Hartley, Inc. - Worcester, MA

Manufacturer:
Sleeper & Hartley, Inc. - Worcester, MA

Witnesses:
Unknown

Patent Dates:
Applied: Jan. 05, 1923
Granted: Sep. 02, 1924

Patent Pictures:
USPTO (New site tip)
Google Patents
Report data errors or omissions to steward Jeff Joslin
Vintage Machinery entry for Sleeper & Hartley, Inc.
Description:
"This invention relates to a machine for forming wires in various shapes by a series of bending operations of the like. The principal object of the invention is to provide a machine for this purpose which will be capable of bending wires into forms longer than can be taken care of by the ordinary machines for this general purpose, called four slide machines in the trade. Those machines deliver the article down through a central opening, and they are so arranged that it has to pass out through this opening flatwise so that the diameter of the opening has to be as great as the length of the article in its longest dimension. As the size of this opening controls the size of the machine, any increase in this diameter greatly increases the weight and cost of the machine..."

Copyright © 2002-2026 - DATAMP