Home| FAQ Search:Advanced|Person|Company| Type|Class Login
Quick search:
Patent number:
Patent Date:
first    back  next  last
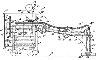
US Patent: 1,523,049
Surfacing machine
Patentee:
John A. Campbell (exact or similar names) - Quincy, MA

USPTO Classifications:
15/144.2, 15/50.1, 451/354, 464/117

Tool Categories:

Assignees:
None

Manufacturer:
Campbell Machine Co. - Wollaston, MA

Witnesses:
Unknown

Patent Dates:
Applied: Jan. 03, 1924
Granted: Jan. 13, 1925

Patent Pictures:
USPTO (New site tip)
Google Patents
Report data errors or omissions to steward Jeff Joslin
Vintage Machinery entry for Campbell Machine Co.
Description:
"This invention relates to a machine used chiefly for dressing the surfaces of walls, ceilings, etc., composed of terrazzo, or like composition..."

Copyright © 2002-2026 - DATAMP