Home| FAQ Search:Advanced|Person|Company| Type|Class Login
Quick search:
Patent number:
Patent Date:
first    back  next  last
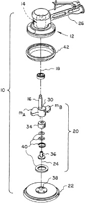
US Patent: 6,206,771
Balancer for orbital abrading machine
Patentee:
Frank D. Lehman (exact or similar names) - Wilson, NY

USPTO Classifications:
451/345, 451/357, 451/359

Tool Categories:
handheld power tools : handheld power sanders
woodworking machines : sanding machines : handheld power sanders

Assignees:
Dynabrade, Inc. - Clarence, NY

Manufacturer:
Dynabrade, Inc. - Tonawanda, NY

Witnesses:
Unknown

Patent Dates:
Applied: Jan. 25, 1999
Granted: Mar. 27, 2001

Patent Pictures:
USPTO (New site tip)
Google Patents
Report data errors or omissions to steward Jeff Joslin
Vintage Machinery entry for Dynabrade, Inc.

Copyright © 2002-2026 - DATAMP