Home| FAQ Search:Advanced|Person|Company| Type|Class Login
Quick search:
Patent number:
Patent Date:
first    back  next  last
US Patent: 2,753,030
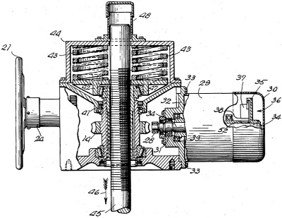
Clutch apparatus
Patentee:
William A. Wight (exact or similar names) - Hinsdale, IL

USPTO Classifications:
192/103R, 192/56.51, 251/129.12, 251/79, 74/625

Tool Categories:
industrial machines : industrial machine mechanisms

Assignees:
Janette Electric Mfg. Co. - Morton Grove, IL

Manufacturer:
Janette Electric Mfg. Co. - Morton Grove, IL

Witnesses:
Unknown

Patent Dates:
Applied: Oct. 28, 1952
Granted: Jul. 03, 1956

Patent Pictures:
USPTO (New site tip)
Google Patents
Report data errors or omissions to steward Jeff Joslin
Vintage Machinery entry for Janette Mfg. Co.
Description:
This invention provided "improved valve and control apparatus." One of the goals is to provide easier maintenance access. "One form which this invention may assume includes an induction type electric motor adapted to drive the engaging portion of a speed and torque sensitive clutch. The driven portions of such a clutch will, through an appropriate gearing arrangement, engage a rotatable splined thrust nut which is internally threaded to engage a coaxial valve stem..."

Copyright © 2002-2026 - DATAMP