Home| FAQ Search:Advanced|Person|Company| Type|Class Login
Quick search:
Patent number:
Patent Date:
first    back  next  last
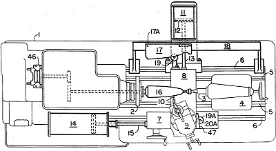
US Patent: 2,475,326
Control system
Patentee:
Clarence Johnson (exact or similar names) - South Euclid, OH

USPTO Classifications:
451/1, 451/237, 451/24, 82/11.1, 82/144, 91/37, 91/376R, 91/47

Tool Categories:
metalworking machines : milling machines : milling machine accessories
metalworking machines : metal lathes : metal lathe accessories and attachments

Assignees:
Bailey Meter Co. - Cleveland, OH

Manufacturer:
Monarch Machine Tool Co. - Sidney, OH

Witnesses:
Unknown

Patent Dates:
Applied: Mar. 02, 1944
Granted: Jul. 05, 1949

Patent Pictures:
USPTO (New site tip)
Google Patents
Report data errors or omissions to steward Jeff Joslin
Vintage Machinery entry for Monarch Machine Tool Co.
Description:
This patent number was seen on a Monarch milling machine. The assignee, the Bailey Meter Co., was owned by Babcock & Wilcox Co.

Copyright © 2002-2026 - DATAMP