Home| FAQ Search:Advanced|Person|Company| Type|Class Login
Quick search:
Patent number:
Patent Date:
first    back  next  last
GB Patent: GB-179,053
Improvements in Machines for Cutting Metals and the Like
Patentees:
Alfred Herbert (exact or similar names) - Whitchurch, Hampshire, England
Percy Venables Vernon (exact or similar names) - Keresley, Warwickshire, England

USPTO Classifications:

Tool Categories:
metalworking machines : milling machines : milling machine cutters
metalworking machines : metal slotting machines

Assignees:
None

Manufacturer:
Alfred Herbert Ltd. - Coventry, Warwickshire, England

Witnesses:
none listed

Patent Dates:
Applied: Apr. 02, 1921
Granted: May 04, 1922

Patent Pictures: [ 1 | 2 | 3 | 4 ]
Espacenet patent
Report data errors or omissions to steward Joel Havens
"Vintage Machinery" entry for Alfred Herbert Ltd.
Description:
Abstract:

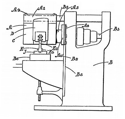
Shaping curved surfaces; attachments for shaping; tools.

Relates to the process of slotting and recessing described in Specification 179,052, and consists in machines for carrying out the process. Figs. 1 and 4 show an attachment applied to the framing of an ordinary milling- machine, but the operative parts may be fitted to other machines or may be carried by a framing to form an independent machine. The tool E is carried by a shank E<2>, which is given a vertical reciprocation by a slide D and an horizontal reciprocation by a slide C on which the slide D moves. The slides are actuated by a crank pin F<2>, which is adjustable in the manner shown. The pin F<2> is carried by a rod passing eccentrically through the driving-shaft F. After slackening the nut F<6> the pin can be adjusted and secured by drawing the conical head F<4> into the corresponding recess in the shaft F.by screwing up the nut F<6>. The shaft F is driven by a bevel-wheel H<4> gearing with a similar wheel on the machine spindle B<3>. The gear described is contained in a casing A which carries a flange A<6> secured to the guides B<5> for the work-table, and is clamped to the tool-stay B<2>. The work is carried by the table B<6>, to which may be given a vertical reciprocation and horizontal reciprocations in two directions at right-angles. A modification is described in which the two slides are actuated by two cranks, geared together. Further, the work-table or the slides may be put at any desired inclination to suit the work.

Copyright © 2002-2026 - DATAMP