Home| FAQ Search:Advanced|Person|Company| Type|Class Login
Quick search:
Patent number:
Patent Date:
first    back  next  last
US Patent: 2,792,734
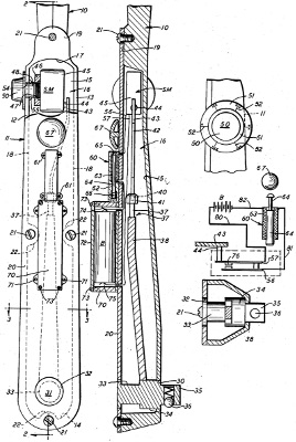
Pre-set indicating wrench
Patentees:
George M. Walraven (exact or similar names) - Kenosha, WI
Kenneth R. Larson (exact or similar names) - Des Plaines, IL

USPTO Classifications:
73/862.230, 81/477

Tool Categories:
wrenches : torque wrenches

Assignees:
Snap-On Tools Corp. - Kenosha, WI

Manufacturer:
Snap-On Tools Corp. - Kenosha, WI

Witnesses:
Unknown

Patent Dates:
Applied: Jun. 22, 1955
Granted: May 21, 1957

Patent Pictures:
USPTO (New site tip)
Google Patents
Report data errors or omissions to steward Stan Schulz
"Vintage Machinery" entry for Snap-On, Inc.
Description:
Improvements to patents 2,312,104, 2,367,224, and 2,682,796. These patent torque wrench designs all use the amount of twist, rather than flex, of a beam to indicate the torque. This patent provides an audible indicator when a pre-set torque is reached.

Copyright © 2002-2026 - DATAMP