Home| FAQ Search:Advanced|Person|Company| Type|Class Login
Quick search:
Patent number:
Patent Date:
first    back  next  last
US Patent: 3,557,857
T-Nuts
Patentee:
Henry F. Swenson (exact or similar names) - Roseland, Essex County, NJ

USPTO Classifications:
411/274, 411/936, 411/959

Tool Categories:
metalworking machines : milling machines : milling machine accessories

Assignees:
None

Manufacturer:
Not known to have been produced

Witnesses:
none listed

Patent Dates:
Applied: Dec. 17, 1968
Granted: Jan. 26, 1971

Patent Pictures:
USPTO (New site tip)
Google Patents
Report data errors or omissions to steward Joel Havens
Description:
Abstract:

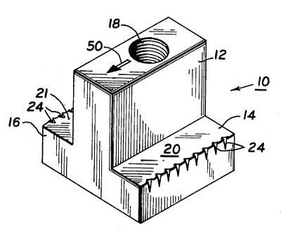
A T-nut for use in slots of machine tool tables and the like includes a threaded hole disposed at an angle to the upper surfaces of the extending wings of the T-nut. The upper surfaces of the extending wings of the T-nut are provided with toothed or knurled surfaces to insure that the engaged surface does not slide in the T-grooves of the worktable when the T-nut is tightened against this groove.

Copyright © 2002-2026 - DATAMP