Home| FAQ Search:Advanced|Person|Company| Type|Class Login
Quick search:
Patent number:
Patent Date:
first    back  next  last
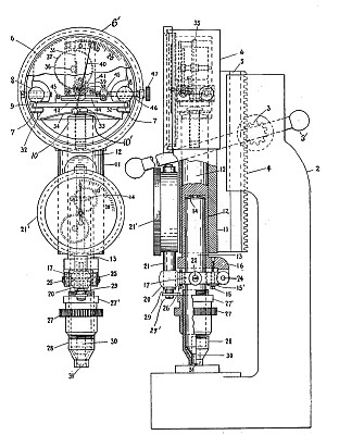
US Patent: 1,770,046
Apparatus for Measuring the Hardness of Materials
Patentee:
Albert F. Shore (exact or similar names) - New York, NY

USPTO Classifications:
73/81

Tool Categories:
metalworking tools : machinist tools : measuring tools : metal hardness testers

Assignees:
Shore Instrument Mfg. Co. - Jamaica, Queens County, NY

Manufacturer:
Not known to have been produced

Witnesses:
none listed

Patent Dates:
Applied: Apr. 04, 1925
Granted: Jul. 08, 1930

Patent Pictures:
USPTO (New site tip)
Google Patents
Report data errors or omissions to steward Joel Havens
"Vintage Machinery" entry for Shore Instrument & Manufacturing Co.

Copyright © 2002-2026 - DATAMP