Home| FAQ Search:Advanced|Person|Company| Type|Class Login
Quick search:
Patent number:
Patent Date:
first    back  next  last
CA Patent: CA-343,839
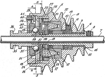
Clutch
Patentee:
William Ferdinand Ocenasek (exact or similar names) - Plainfield, NJ

USPTO Classifications:

Tool Categories:
woodworking machines : woodworking machine mechanisms : woodworking power transmission
industrial machines : industrial machine mechanisms : industrial machine clutches

Assignees:
Walker-Turner Co., Inc. - Plainfield, NJ

Manufacturer:
Walker-Turner Co., Inc. - Plainfield, NJ

Witnesses:
Unknown

Patent Dates:
Granted: Aug. 07, 1934

Patent Pictures:
CIPO Data
Espacenet patent
Report data errors or omissions to steward Jeff Joslin
"Vintage Machinery" entry for Walker-Turner Co., Inc.
Description:
This is the Canadian equivalent of US patent 1,930,319.

Copyright © 2002-2026 - DATAMP