Home| FAQ Search:Advanced|Person|Company| Type|Class Login
Quick search:
Patent number:
Patent Date:
first    back  next  last
US Patent: 2,275,326
Tool Bit and Tool Holder Therefor
Patentee:
Ole Severson (exact or similar names) - Shelton, Fairfield County, CT

USPTO Classifications:
407/108, 407/96

Tool Categories:
metalworking machines : metalworking machine tool holders : insert tool holders

Assignees:
Apex Tool & Cutter Co., Inc. - Shelton, Fairfield County, CT

Manufacturer:
Not known to have been produced

Witnesses:
none listed

Patent Dates:
Applied: Jan. 04, 1940
Granted: Mar. 03, 1942

Patent Pictures: [ 1 | 2 ]
USPTO (New site tip)
Google Patents
Report data errors or omissions to steward Joel Havens
Description:
Abstract:

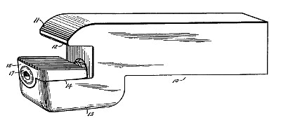
The invention relates to improvements in tool bits and tool holders therefor of the draw-bolt type and particularly designed for use in connection with metal working apparatuses, such as, boring mills, lathes, planers and the like. It is among the general objects of the invention to provide a new and efficient bit and holder assembly, which will give increased rigidity to the structure holding a cutting tool in contact with the surface to be worked. Another object of the invention is to provide the structure with an interrelationship of parts which is designed to reduce, to a minimum, the possibility of accidental movement between the bit and holder so as to avoid any chattering or vibration between tool and work. Another important object is to provide in a rigid tool assembly easy adjustability in the relation of the bit to holder, the same being accessible without sacrifice of rigidity of parts after adjustment. A further object is to provide a structure of minimum parts and maximum efficiency so as to achieve a novel simple and efficient device adopted to fill the need for an inexpensive durable tool holder. This application is a companion application to my co-pending application Serial Number 281,408 and differs, therefore, in the provision of means accessible from the bit end of the holder for adjusting the wedge and thus locking and unlocking the bit. It has been found that commercial applications of the structure of my prior application have, in some instances, been limited because of the structure or arrangement of the tool post which precluded easy access to the adjusting mechanism. In the present invention this obstacle has been overcome.

Claim:

In a tool bit and holder combination, a holder having a furcated end, the opposite inner surfaces of the furcation being angularly disposed, a tool bit having its shank disposed between said surfaces, a bit retaining member having one surface parallel with one surface of the furcation and the opposite surface of the furcation surface parallel with another, means for moving said retaining member longitudinally within said furcation and comprising a compound bolt having a threaded portion engaging said member and an oppositely threaded portion engaging said holder.

Copyright © 2002-2026 - DATAMP