Home| FAQ Search:Advanced|Person|Company| Type|Class Login
Quick search:
Patent number:
Patent Date:
first  previous  back  next  last
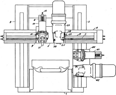
US Patent: 1,970,810
Planer
Patentees:
Howard W. Hunt (exact or similar names) - Cincinnati, OH
August Marx (exact or similar names) - Cincinnati, OH

USPTO Classifications:
29/30

Tool Categories:
metalworking machines : metal planers
metalworking machines : milling machines

Assignees:
G. A. Gray Co. - Cincinnati, OH

Manufacturer:
G. A. Gray Co. - Cincinnati, OH

Witnesses:
Unknown

Patent Dates:
Applied: Sep. 13, 1932
Granted: Aug. 21, 1934

Patent Pictures:
USPTO (New site tip)
Google Patents
Report data errors or omissions to steward Jeff Joslin
Vintage Machinery entry for G. A. Gray Co.
Description:
"The improvement relates to the attachment of a milling head whereby a milling cutter may be used in a planer..."

Copyright © 2002-2026 - DATAMP