Home| FAQ Search:Advanced|Person|Company| Type|Class Login
Quick search:
Patent number:
Patent Date:
first    back  next  last
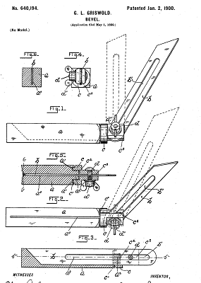
US Patent: 640,194
Bevel
Patentee:
George L. Griswold (exact or similar names) - Norwich, CT

USPTO Classifications:
33/473

Tool Categories:
layout tools : bevels

Assignees:
None

Manufacturer:
Not known to have been produced

Witnesses:
Alonzo M. Luther
Frank H. Allen

Patent Dates:
Applied: May 01, 1899
Granted: Jan. 02, 1900

Patent Pictures:
USPTO (New site tip)
Google Patents
Report data errors or omissions to steward Steve Gosselin

Copyright © 2002-2026 - DATAMP