Home| FAQ Search:Advanced|Person|Company| Type|Class Login
Quick search:
Patent number:
Patent Date:
first  previous  back  next  last
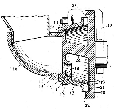
US Patent: 1,549,520
Feeding mechanism for rivet-setting machines
Patentee:
Edwin Ball Stimpson (exact or similar names) - Brooklyn, NY

USPTO Classifications:
221/169, 221/174

Tool Categories:
metalworking machines : riveting machines
specialty machines : riveting machines

Assignees:
Edwin B. Stimpson Co. - Brooklyn, NY

Manufacturer:
Edwin B. Stimpson Co. - Brooklyn, NY

Witnesses:
Unknown

Patent Dates:
Applied: May 08, 1924
Granted: Aug. 11, 1925

Patent Pictures:
USPTO (New site tip)
Google Patents
Report data errors or omissions to steward Jeff Joslin
Vintage Machinery entry for Edwin B. Stimpson & Son

Copyright © 2002-2026 - DATAMP