Home| FAQ Search:Advanced|Person|Company| Type|Class Login
Quick search:
Patent number:
Patent Date:
first    back  next  last
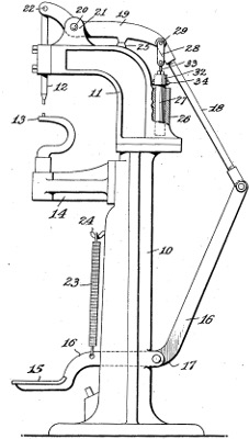
US Patent: 1,609,843
Noise eliminator for machines
Patentee:
Edwin Ball Stimpson (exact or similar names) - Brooklyn, NY

USPTO Classifications:
188/281

Tool Categories:
industrial machines : industrial presses : lever presses
specialty machines : riveting machines
metalworking machines : riveting machines
metalworking machines : metalworking presses : lever presses

Assignees:
Edwin B. Stimpson Co. - Brooklyn, NY

Manufacturer:
Edwin B. Stimpson Co. - Brooklyn, NY

Witnesses:
Unknown

Patent Dates:
Applied: Jan. 27, 1925
Granted: Dec. 07, 1926

Patent Pictures:
USPTO (New site tip)
Google Patents
Report data errors or omissions to steward Jeff Joslin
Vintage Machinery entry for Edwin B. Stimpson & Son

Copyright © 2002-2025 - DATAMP