Home| FAQ Search:Advanced|Person|Company| Type|Class Login
Quick search:
Patent number:
Patent Date:
first    back  next  last
GB Patent: GB-1,309,893
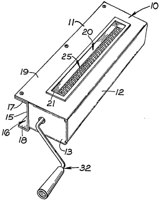
Shredder
Patentee:
Zachry Brierley (exact or similar names) - Llandudno, Caernarvonshire, Wales

USPTO Classifications:

Tool Categories:

Assignees:
None

Manufacturer:
Not known to have been produced

Witnesses:
Unknown

Patent Dates:
Applied: Sep. 23, 1971
Granted: Mar. 14, 1973

Patent Pictures:
Espacenet patent
Report data errors or omissions to steward Jeff Joslin
Vintage Machinery entry for Z. Brierley Ltd.

Copyright © 2002-2026 - DATAMP