Home| FAQ Search:Advanced|Person|Company| Type|Class Login
Quick search:
Patent number:
Patent Date:
first    back  next  last
GB Patent: GB-300,392
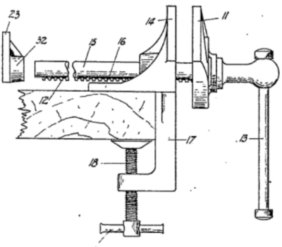
Improvements in or relating to vices and cramps
Patentee:
Charles William Hampton (exact or similar names) - Sheffield, England

USPTO Classifications:

Tool Categories:
work holding : vises : woodworkers vises

Assignees:
Charles William Hampton - Sheffield, England
C. & J. Hampton Ltd. - Sheffield, England

Manufacturer:
Not known to have been produced

Witnesses:
Unknown

Patent Dates:
Applied: Nov. 14, 1927
Granted: Nov. 15, 1928

Patent Pictures: [ 1 | 2 ]
Espacenet patent
Report data errors or omissions to steward Jeff Joslin
Vintage Machinery entry for C. & J. Hampton Ltd.; Record Tools
Description:
The invention is a woodworkers' vise that can be clamped to the edge of a bench rather than being permanently affixed. In addition, a special bar clamp can be attached to the rear of the fixed jaw

Copyright © 2002-2026 - DATAMP