Home| FAQ Search:Advanced|Person|Company| Type|Class Login
Quick search:
Patent number:
Patent Date:
first    back  next  last
US Patent: 494,518
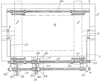
Brake mechanism
Patentee:
Henry Bolthoff (exact or similar names) - Denver, CO

USPTO Classifications:
188/77R

Tool Categories:
material handling : industrial elevators and lifts
specialty machines : mining apparatus

Assignees:
None

Manufacturer:
Hendrie & Bolthoff Manufacturing & Supply CO. - Denver, CO

Witnesses:
Muriel Strode
William McConnell

Patent Dates:
Applied: May 09, 1892
Granted: Mar. 28, 1893

Patent Pictures:
USPTO (New site tip)
Google Patents
Report data errors or omissions to steward Jeff Joslin
Vintage Machinery entry for Hendrie & Bolthoff Mfg. & Supply Co.
Description:
Seen in an 1898 Hendrie & Bolthoff catalog, "Our Double Cylinder Quadruple Friction Hoist. The fixtures comprise steam pipes as shown in cut, patent balanced throttle valve, oil cups, nickel-plated double sight-feed lubricator, oil cans, set steel forged wrenches and foundation bolt ends."

Copyright © 2002-2026 - DATAMP