Home| FAQ Search:Advanced|Person|Company| Type|Class Login
Quick search:
Patent number:
Patent Date:
first    back  next  last
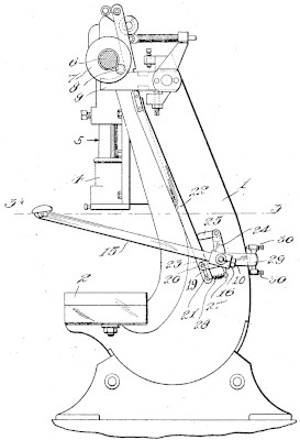
US Patent: 1,715,180
Safety control for power presses
Patentee:
Edmund W. Zeh (exact or similar names) - Newark, NJ

USPTO Classifications:
192/131R

Tool Categories:
metalworking machines : metalworking presses : punch presses
industrial machines : safety guards and apparatus

Assignees:
None

Manufacturer:
Not known to have been produced

Witnesses:
Unknown

Patent Dates:
Applied: Dec. 13, 1926
Granted: May 28, 1929

Patent Pictures:
USPTO (New site tip)
Google Patents
Report data errors or omissions to steward Jeff Joslin
Vintage Machinery entry for Zeh & Hahnemann Co.

Copyright © 2002-2026 - DATAMP