Home| FAQ Search:Advanced|Person|Company| Type|Class Login
Quick search:
Patent number:
Patent Date:
first    back  next  last
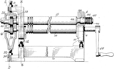
US Patent: 1,763,304
Slip-roll-forming machine
Patentee:
Paul R. Hahnemann (exact or similar names) - Newark, NJ

USPTO Classifications:
72/169

Tool Categories:
metalworking machines : sheet metal : sheet metal forming rolls

Assignees:
Niagara Machine & Tool Works - Buffalo, NY

Manufacturer:
Not known to have been produced

Witnesses:
Unknown

Patent Dates:
Applied: May 09, 1928
Granted: Jun. 10, 1930

Patent Pictures:
USPTO (New site tip)
Google Patents
Report data errors or omissions to steward Jeff Joslin
Vintage Machinery entry for Niagara Machine & Tool Works

Copyright © 2002-2026 - DATAMP