Home| FAQ Search:Advanced|Person|Company| Type|Class Login
Quick search:
Patent number:
Patent Date:
first    back  next  last
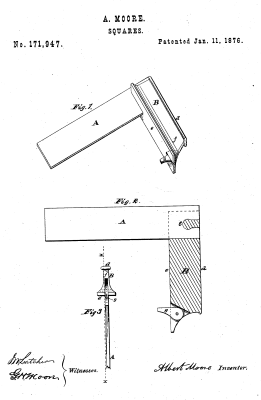
US Patent: 171,947
Square
Construction of Squares
Patentee:
Albert Moore (exact or similar names) - Northville, NY

USPTO Classifications:
33/480

Tool Categories:
layout tools : squares : try squares

Assignees:
None

Manufacturer:
Unknown

Witnesses:
J. W. Latcher
G. H. Moore

Patent Dates:
Applied: Jun. 20, 1873
Granted: Jan. 11, 1876

Patent Pictures: [ 1 | 2 | 3 | 4 ]
USPTO (New site tip)
Google Patents
Report data errors or omissions to steward Steve Gosselin
Description:
This Patent relates to the construction of squares, specifically casting the the blade into a brass, bronze poured stock or haft. Examples do not have the adjustable rest.

Copyright © 2002-2025 - DATAMP