Home| FAQ Search:Advanced|Person|Company| Type|Class Login
Quick search:
Patent number:
Patent Date:
first    back  next  last
US Patent: 1,423,917
Punch and Die Set
Patentee:
Sidney Diamant (exact or similar names) - New York, NY

USPTO Classifications:
83/146, 83/391

Tool Categories:
metalworking tools : metal punches

Assignees:
None

Manufacturer:
Diamant Tool & Mfg. Co. - Newark, Essex County, NJ

Witnesses:
Unknown

Patent Dates:
Applied: Apr. 23, 1921
Granted: Jul. 25, 1922

Patent Pictures: [ 1 | 2 | 3 ]
USPTO (New site tip)
Google Patents
Report data errors or omissions to steward Joel Havens
"Vintage Machinery" entry for S. A. Potter Tool & Machine Works
Description:
Abstract:

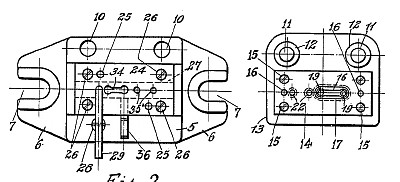
This invention relates to punch and die sets, and has for its primary object to provide a punch and die set of standardized construction, so that the parts may be interchangeably employed in the building of a die for producing openings or perforations in the piece or part of a required size and shape.

Claim:

A punch and die set comprising a die holder, a die blank arranged upon said holder, a stripper plate adapted to be secured upon the die blank in superposed in relation thereto, said die holder having spaced openings, a punch holder, liner pins carried by the punch holder and engaged in said spaced openings, a punch plate secured to the punch holder, a punch mounted in the punch plate and adapted to operate through the stripper-plate, said stripper plate having a longitudinally extending recess in its bottom face through which the work piece is adapted to be moved, an automatic stop lever pivotally mounted intermediate of its ends and having one end movable through the stripper plate and across said recess to limit the movement of the work piece in said recess and an adjustable screw carried by the punch holder to engage the other end of the lever and dis-~lace the same from its normal position to permit of the adjustment of the work piece in said recess.

Copyright © 2002-2026 - DATAMP