Home| FAQ Search:Advanced|Person|Company| Type|Class Login
Quick search:
Patent number:
Patent Date:
first    back  next  last
US Patent: 728,893
Saw Filing Machine
Patentee:
John W. Foley (exact or similar names) - Omaha, Douglas County, NE

USPTO Classifications:
76/31, 76/79.5

Tool Categories:
metalworking machines : filing machines

Assignees:
None

Manufacturer:
Not known to have been produced

Witnesses:
George W. Sues
Mary C. Michaelsen
H. J. Larson
W. E. Windsor

Patent Dates:
Applied: Feb. 14, 1903
Granted: May 26, 1903

Patent Pictures: [ 1 | 2 ]
USPTO (New site tip)
Google Patents
Report data errors or omissions to steward Joel Havens
Description:
Abstract:

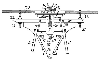
The aim of my invention is to provide a simnple machine adapted to be secured to a suitable tripod, to the upper end of which is Secured a panel supporting a table, which ,able supports a suitable guide-shaft upon which is suitably held a carrier, which carrier in turn receives a vibrating file-holder, to which holder are adjustably secured a plurality of files.

Claim:

A saw-filing machine comprising the combination of the following instrumentalities, to wit: a tripod, a table supported by said tripod, a vise secured to said tripod, vertically adjustable holders secured to said table, a guide-shaft slidably held within said holders, a bottom plate secured to said shaft, roller-holding plate adjustably secured to said bottom-plate, upon opposite sides, rollers within said holding-plates, a plate forming a holder movably supported by said rollers, arms extending from said holder-plate, a block provided with a vertical and horizontal slot, secured to said arms, a screw provided with a file-holding opening laterally, adjustable within said holder-plate, a screw provided with a loose collar secured to said i holder-plate, said collar being provided with a file-holding opening, a strap clamping said block and vertically adjustable thereon, a file-holder secured to said strap, a second strap horizontally adjustable upon said block, a file-holder secured to said last-mentioned strap, and a handle to operate said holder-plate.

Copyright © 2002-2026 - DATAMP