Home| FAQ Search:Advanced|Person|Company| Type|Class Login
Quick search:
Patent number:
Patent Date:
first  previous  back  next  last
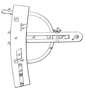
US Patent: 24,623
Carriage Wheel Trimming Plane
Patentee:
Rueban Fretz (exact or similar names) - Montville, OH

USPTO Classifications:
144/146, 144/167

Tool Categories:
woodworking tools : planes : circular planes
trade specific : wagon maker

Assignees:
None

Manufacturer:
Henry Dennis - Montville, OH

Witnesses:
Unknown

Patent Dates:
Granted: Jul. 05, 1859

Patent Pictures:
USPTO (New site tip)
Google Patents
Report data errors or omissions to steward Steve Reynolds
Description:
Carriage Wheel Trimming Plane

Copyright © 2002-2026 - DATAMP