Home| FAQ Search:Advanced|Person|Company| Type|Class Login
Quick search:
Patent number:
Patent Date:
first  previous  back  next  last
US Patent: 1,431,522
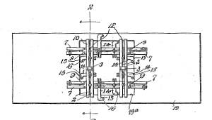
Marking Device
Riveting Gage
Patentee:
Martin E. Hayman (exact or similar names) - Milwaukee, OR

USPTO Classifications:
33/578, 83/655

Tool Categories:
layout tools : special purpose gauges

Assignees:
None

Manufacturer:
Not known to have been produced

Witnesses:
Unknown

Patent Dates:
Applied: Feb. 12, 1919
Granted: Oct. 10, 1922

Patent Pictures:
USPTO (New site tip)
Google Patents
Report data errors or omissions to steward Ralph Brendler
Description:
This is a specialized tool for laying out holes for riveting.

Copyright © 2002-2026 - DATAMP