Home| FAQSearch:Advanced|Person|Company| Type|ClassLogin
Quick search:
Patent number:
Patent Date:
Patents for H. B. Hallock
Patents 16 - 16 of 16
First set of recordsPrevious set of recordsLast set of records
NumberDatePatenteeTitleType
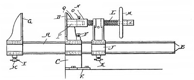
833,670Oct. 16, 1906P. BroadbooksClampclamps
Toggle print mode
Show pictures

Copyright © 2002-2026 - DATAMP